Hirdetés

A Sony levédetett egy AI eszközt, ami helyetted játszik, ha elakadsz

|

Hirtelen nagyon szomorúnak tűnik a gaming jövője.

Hirdetés

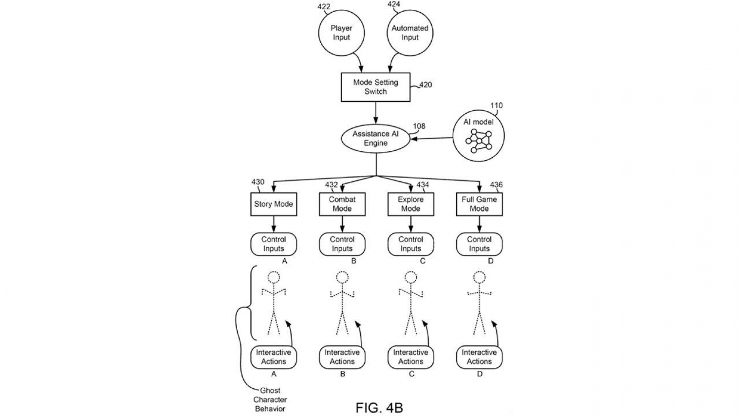
A Sony új szabadalma valójában azt tudja, hogy a mesterséges intelligencia is átveheti a játék irányítását, ha elakadsz egy nehéz részben. A dokumentumok alapján ez az úgynevezett "ghost assistance" (szellemasszisztens) bármikor aktiválható lenne, hogy útmutatást adjon a játékosnak vagy átvegye az irányítást, és teljesítse helyette az adott szakaszt.

A 2024 szeptemberében benyújtott szabadalmi iratokbó kiderül, hogy a rendszer működéséhez a Sony mesterséges intelligenciája valós játékosok felvételeit és játékmenetét használná fel tanulási alapként. Az AI-t több forrásból, például online elérhető gameplay videókból és felhasználói adatokból képeznék ki, hogy a lehető legjobban tudja utánozni a játékosok mozdulatait, stratégiáit és döntéseit.

Hirdetés

A Sony egy illusztrációt is mellékelt a szabadalomhoz, amely bemutatja, hogyan működhetne a funkció, ez alapján a játékos bármikor kérheti az AI beavatkozását, például ha nem tud legyőzni egy főellenséget, vagy elakad egy platformos szakaszban. Az AI ezután befejezheti a pályát, majd visszaadhatja az irányítást a felhasználónak.

A Microsoft szintén kísérletezik hasonló technológiával, ők tavaly mutatták be a Gaming Copilot nevű AI-asszisztenst, amely valós idejű tanácsokat, útmutatást és javaslatokat kínál a játékosoknak.

Ha a Sony valóban megvalósítja a rendszert, az jelentősen átalakíthatja a játékélményt, mert ez valójában nemcsak a játékbeli nehézségeket, hanem magát a játékot - aminek a nehézség ugye a része - áthidalja. 

Nem akarsz lemaradni semmiről?

Rengeteg hír és cikk vár rád, lehet, hogy éppen nem jön szembe GSO-n vagy a social médiában. Segítünk, hogy naprakész maradj, kiválogatjuk neked a legjobbakat, iratkozz fel hírlevelünkre!


Hirdetés
Hirdetés
0 mp. múlva automatikusan bezár Tovább az oldalra »

Úgy tűnik, AdBlockert használsz, amivel megakadályozod a reklámok megjelenítését. Amennyiben szeretnéd támogatni a munkánkat, kérjük add hozzá az oldalt a kivételek listájához, vagy támogass minket közvetlenül! További információért kattints!

Ne maradj le a legfontosabb hírekről! Engedélyezd az értesítéseket, cserébe elsőként tudod meg, ha bejelentik a Half-Life 3-at! (Nem spamelünk, becsszó!)